- 总人气:4710
- 商铺人气:2050
- 产品人气:2614
- 资讯人气:46

- 型号:KA-10
- 价格:面议
- 最小起订量:0
- 供货总量:0
- 产品介绍
本电话机可与大部分模拟或数字电话程控交换机兼容。主要用于公共工作环境下的语音通讯。
1.2主要性能特性
外壳:金属面板,防暴性强
手柄:特种ABS工程塑料,整体式结构,防水,防尘,防裂,抗敲击、抗拉
手柄送受话器、键盘、蜂鸣器、电路板、外壳所有配件采用多层防水、防尘结构。
话机稳定性好,抗干扰能力强,符合国家标准GB/T 15279-2002
防护等级IP54
外壳具有接地装置并与内部电路电气完全隔离,具有一定的电磁屏蔽作用
通话时语音清晰,声音洪亮,无回授啸叫
整机轻巧美观
1.3技术参数
振铃声级:70dB(A)
双音多频(DTMF)拨号:
频偏:≤1.5%; 低频群电平:-9±3dB;高频群电平:-7±3dB 频率组合中的高低电平差:2±1dB; 谐波等总失真至少比基波电平低20dB
通话传输指标:SLR≤12,RLR≤-1,STMR≥10,输出阻抗:600Ω
电声特性: 发送响度评定值 ≥+2dB ≤+12dB 接受响度评定值 ≥-8dB ≤-1dB 侧音掩蔽评定值 ≥+3dB ≥+10dB
3 操作使用
3.1 电话机的连接:
上图是安全耦合器,把电信局的电话线连接到非安全端,电话机连接到安全端。 本安全耦合器要放在安全的地方,电话机可以放在工人工作的地方附近。请注意电话跟安全耦合器之间的连接要做好密封,并且连接要牢固。
3.2话机使用:

本话机摘机3秒后即可自动拨号,号码可在生产的时候设置,也可以用户自行设置。
注:根据需要,这块线路板可能被浇封而无法看见线路板上的元器件,而只能看到接线柱。
3.3号码存储:
打开盖子,短路线路板上的接线柱,然后接通电话线路电源,拨打要自动拨打的号码,挂机。把接线柱连线断开,再连接电源。这时候,提起听筒,电话会在三秒内自动把刚才存下去的号码拨打出去。
3.4 号码清除
关机短路线路板上的接线柱开机按两次键盘右上角的空白按键两次挂机把线路板上的接线柱断开开机,号码已经清除 。没有存号码的电话可以自由拨打任意号码。
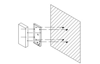
安装方式:
在需安装的墙体预留合适的空间,壁挂墙体,用不锈钢机械螺钉固定即可。
如图:


|
|
|
|





